云开·全站apply体育官方平台 专利大观-健身器材
获得专利的 Grand View - 健身器材

中国健身器材行业的发展始于20世纪80年代末,随着中国加入WTO,北京申办奥运会的成功,为健身器材行业的发展提供了有利条件和发展机遇,健身团队的不断壮大为健身器材制造商带来了强大的商机。
健身器材根据训练功能的数量常分为单功能和综合多功能两大类。功能单一的设备,常用的有划船机、健美车、步行机、跑步机、腰部机等。综合多功能器械:一般包括扩胸器、引体向上、卧推、仰卧起坐等功能设备。
一、CN114470628B
防止失控的家庭健身杠铃
一款防止失控的家用健身杠铃,属于家用杠铃技术领域。防止掉落的家庭健身杠铃包括:杠铃杠铃;防脱落箱、防脱落箱滑套设置在杠铃杆上,防脱落箱的后侧外表面与后箱固定连接,在防脱落箱两侧的内壁上形成方孔,两个方孔的上下内壁之间旋转连接双向螺纹杆;防脱落传动机构,防脱落传动机构设有两组,两组防脱落传动机构分别设置在后箱的上下两侧,防止手脱落的家用健身杠铃,操作者的手伸入防脱落箱内侧握住杠铃杆, 两组防脱落传动机构同时工作,带动两根双向螺纹杆旋转,使两个装配套筒彼此靠近,与操作者的手腕贴合,操作者的手不能从防脱落箱内部分离,杠铃杆不会与操作者的手分开, 以防止杠铃掉落和砸到操作者的脚或其他人。


二、CN111939516B
一种以自身重量为配重的可变拉伸家用健身器材
本发明公开了一种自重作为承重的可变拉伸家用健身器材,包括支架、横轴、变速链轮组、座椅绕组、手柄绕组、手柄绕组轮、手柄、座椅、前转轴;使用者坐在座椅上,拉动手柄旋转前旋转轴,带动变速链轮组旋转,从而带动横轴旋转,通过横轴和前转轴的同步旋转,将座椅绕组轮下的绳子卷起,将人拉起, 慢慢放松手柄,在重力作用下回到初始位置,重复上述动作进行训练,以人体重量为负荷,无需额外金属负荷,体积小云开·全站APP登录入口,安装方便,占地面积小,适合家庭使用;通过手动调节前轴上的调节装置,调节变速链轮组的传动比,然后改变拉力的大小,单人即可操作,调节装置可在用户体重的0.3倍~2倍之间转换,适用于人群范围广、运动范围大。


三、CN113786591B
一种自学的家用自行车
特别是,自我培养的家用自行车与用于儿童肥胖和减脂的自我培养家用自行车有关。本发明提供一种自修自通的家用自行车,能调节高度,自主调节运动难度云开·全站apply体育官方平台,提高运动积极性。一种小儿肥胖减脂与修身家用自行车,包括安装架、第一轴承座、曲柄和踏板,安装架上设有第一轴承座,第一轴承座的中上部可旋转设置有曲柄,曲柄的两端设有踏板, 所述第一支撑机构、第二支撑机构和升降机构还包括,所述安装架上设置有第一支撑机构,所述安装架的中上部设置有第二支撑机构,所述安装架上设置有升降机构。本发明设置有第一支撑机构和第二支撑机构,可以根据儿童的身高调节舒适的高度,提高了健身的舒适性,从而提高了减脂效果。


四、CN110755814A
用于仰卧起坐的智能辅助健身设备
本发明公开了一种用于仰卧起坐的智能辅助健身设备,包括弧形支撑架,弧形支撑架设有支撑机构,支撑机构设有固定柱、弹性垫、坐架、弹簧垫、固定板、固定轴承、连接轴、支撑板、保护壳、 一条连接带、一个圆孔、一个弹簧钩、一个透气垫,弧形支撑架上设有辅助省力机构,辅助省力机构上设有延长板、固定架、固定杆、止动器、固定滑轮、调速电机、联轴器、固定工作台、固定轴承二、驱动轴、 驱动轮、粗钢丝、所述弧形支撑架上设有辅助加力机构,所述弧形支撑架上设有智能控制机构kaiyun下载app下载安装手机版,所述智能控制机构上设有控制器、电容显示屏、家用电器锁存器、扬声器、PLC系统、信号接收器、语音识别器、压力传感器。本发明的有益效果是结构简单,实用性强。

五、CN109224392B
健身器材
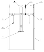
健身器材的一种,更具体地说是一种多功能的家用壁挂臂力量健身器材,它不仅可以通过支架固定在棚子的屋顶上,减少地面的使用,伸展臂可以实现引体向上的运动,还可以将伸展臂拉出做承重伸展运动,升降电机可以缩回伸展臂。支架的上部通过膨胀螺杆固定在棚顶上,支架的下部与伸展臂接触;吊重机固定在支架的右下侧,吊重机的上部通过钢丝与拉伸臂连接;起重电机固定在支架的左侧,起升电机通过钢丝与拉伸臂连接;拉伸臂位于支架的下部。


六、CN106334285B
压力可调的家庭健身踏步机
一种压力可调的家用健身踏步机包括底座,底座由第一支撑脚、连杆和第二支撑脚组成,连杆的两端分别设有第一支撑脚和第二支撑脚,支撑柱垂直安装在第一支撑脚的中间部分, 支撑杆与支撑杆穿插在支撑柱内腔底部,两个转轴水平安装在支撑柱的外侧壁上。通过采用液压伸缩杆和调节球阀的组合使用,可以使第二油缸内腔的油进行调节,使油进入液压伸缩杆内腔的油;通过采用气动伸缩杆、活塞推杆和电磁线圈的相互配合,可以有效改变气动伸缩杆的工作阻力,易于调节;通过在踏板底部安装踏板调节装置,可以调节踏板倾斜度的斜率,便于应用于不同难度的训练。


七、CN111467740B
具有除尘功能的舒适家庭健身器材
一种具有除尘功能的舒适家用健身器材,包括底板、支架和跑带,底板水平布置,支架布置在底板上方,跑带布置在支架上,支架上设有驱动装置,底板顶部设有除尘机构和至少两个连接机构, 连接机构均匀分布在支架和底板之间,连接机构包括限位块、固定杆、滑块和弹簧,除尘机构包括集尘槽、清洗刷、连接管、滤网和风电组件,集尘槽位于底板和运行带之间, 具有除尘功能的舒适家用健身器材,通过连接机构实现了缓冲和减振的功能,提高了舒适度,不仅如此,还通过除尘机构实现了清除跑步机上的灰尘的功能。


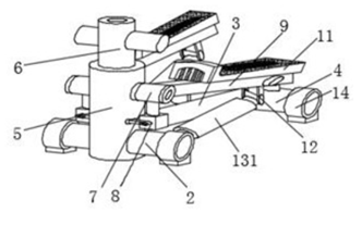
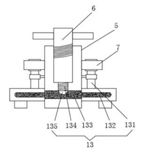
8、CN114452604B
一种具有除尘功能的家用综合健身器材
一种具有除尘功能的家用综合健身器材,包括第一壳体,第二壳体安装在第一壳体的一侧,第一壳体和第二壳体的中间部分均开始有安装孔,在安装孔中放置轴承,将第一只手穿透并安装在第一壳体的轴承中, 第二手柄安装在第二壳体的轴承中;它还包括:对接杆,对接杆固定在第二壳体的顶部边缘,第一壳体和第二壳体都开始有活动凹槽,活动凹槽的一端内侧通过第一弹簧与定位杆连接,活动凹槽的中间位置通过第二弹簧与固定杆连接;安装套筒螺纹连接到第一手柄和第二手柄的外侧。具有除尘功能的家用综合健身器材,装拆方便,实现了两台健身工具的切换,可同时实现除尘功能。


9、CN111514525B
一种居家健身训练器材
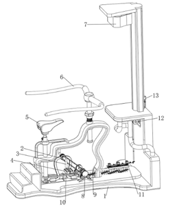
家用健身训练器材的一种,属于运动器材领域,包括底座、机身和机头,底座底部设有后支撑杆,底座前端与横梁连接,底座顶部设有座椅, 座椅上连接有倾斜的靠背,机体与横梁连接,横梁的底端设有前支撑杆,机头通过支撑架与机体连接,机体上设有连接的曲轴和飞轮, 曲轴的两端与踏板连接;机身底部通过弹性滑动机构与横梁连接,使机身可以沿瞬态的长度滑动;机身的前端和横梁之间还连接有限位部件。这种训练设备不仅可以作为自行车骑行使用,而且其身体是一个可移动的结构,可以根据需要用于推动和拉动身体以锻炼手臂,可以为用户带来更多样化的体验。


10、CN108992842B
一种家用多功能辅助健身器材
本发明公开了一种家用多功能辅助健身器材,包括吸盘部分、支撑柱、横杆部分和伸缩结构,吸盘部分安装在支撑柱下方,支撑柱上设有两个起支撑横杆作用的横杆,横杆部分包括横杆、 横杆上安装有旋转连接器、固定块、扶手杆、弯头支撑板、固定凹槽和固定弹簧,并设有伸缩结构,本发明结构简单,使用灵活,轻便于存放,还具有多种辅助健身功能。


鲁ICP备18019460号-4
我要评论